OTODRIVER - Tak selamanya ide-ide baru yang bakal hadir dalam sebuah mobil berwujud suatu hal yang canggih dan syarat teknologi. Kadang ide baru hadir dalam sesuatu yang sederhana dan jauh dari kategori canggih.
Belum lama ini Ford telah mempatenkan sebuah sun visor yang punya peran tak hanya sebatas menutup sinar matahari agar tak membuat silau di mata, namun sekaligus berperan sebagai pemecah kaca pada saat kondisi emergency.
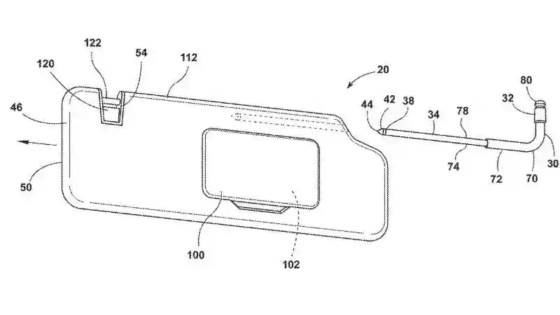
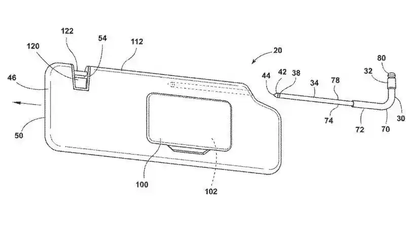
Dikutip dari motor1, sun visor yang dipatenkan Ford memiliki mekanisme untuk melepas tirainya, melepas dari perangkat itu terpasang dan menyisakan ujungnya yang runcing.

Dengan ujung yang tajam itu maka akan lebih mudah untuk memecah kaca mobil apabila berada dalam kondisi emergency seperti saat mobil masuk ke dalam air. Pecahkan kaca samping mobil dengan gagang sun visor dan kemudian keluar dari mobil melalui jendela.
Dalam patentnya tidak disebutkan secara rinci berapa dimensi pada perangkat tersebut, tapi gambar menunjukkan terdapat bentuk tekukan L yang kemungkinan ditujukan sebagai pegangan tangan untuk memukulkan alat tersebut di permukaan kaca.
Patent yang diajukan oleh pabrikan Amerika Serikat ini merupakan salah satu contoh bahwa perkembangan mobil modern tak selalu harus sesuatu yang berteknologi tinggi. (SS)










